
自2017年4月14日民航局《通用机场分类管理办法》发布以来,通用机场取证数量一直处于加速增长的趋势,2018年起,全国各地均掀起了通用机场建设潮。据最新公布,截至2019年7月12日,全国已取证通用机场数量已达到229个。从2019年1月1日至7月12日,短短7个半月,全国新增的已取证通用机场数量达32个。
2019年全国新增持证通用机场
32个
从全国已取证通用机场229个名单可以看出,2019年新增32个持证通用机场,取证月份分布如下:
2019.01 新增4个
盐池通用机场、上海金桥直升机场、江西景德镇高新通用机场、武汉汉南通用机场
2019.03 新增5个
青岛西海岸通用机场、苏州澄湖通用机场、珠海莲洲通用机场、新疆天山雄鹰通用航空有限公司机场、兵团第七师一二九通用航空机场
2019.04 新增8个
阿荣机场、黑龙江省红旗岭农场通用机场、沙家庄机场、太原航校尧城机场、上海化学工业区医疗中心高架直升机场、翼飞通用机场、北京石佛寺机场、中国北京红十字999怀柔机场
2019.05 新增10个
江川直升机场、丽江白沙直升机场、保山长岭岗直升机场、西昌盐源直升机场、布尔津通用机场、西华通用机场、张家港双山岛通用机场、张家港金沙洲通用机场、白云村直升机场、青城山直升机场
2019.06 新增4个
鄂托克前旗敖勒召其通用机场、丹阳圣豪通用机场、富蕴通用机场、郑州上街机场
2019.07 新增1个(截止7月12日)
株洲芦淞机场
全国已持证通用机场
229个
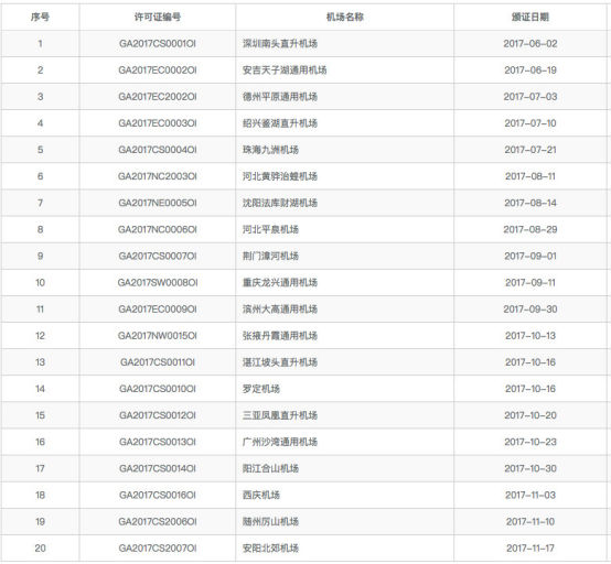
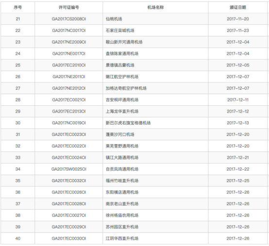
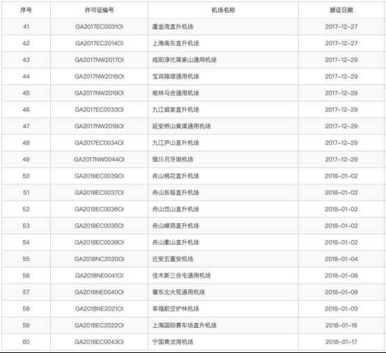
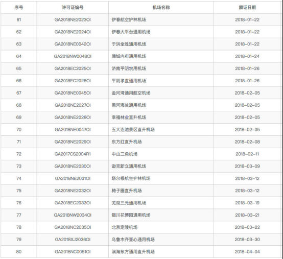
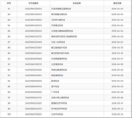
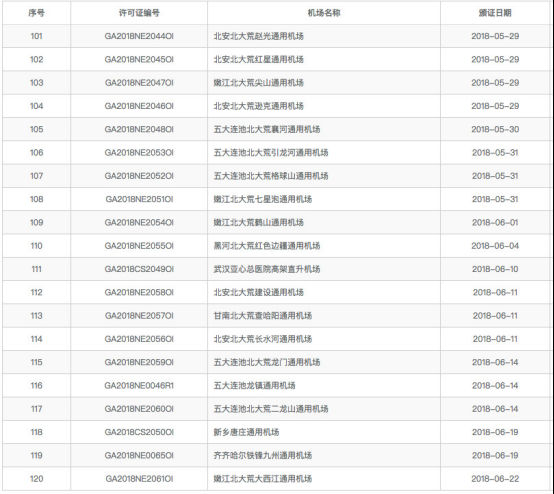
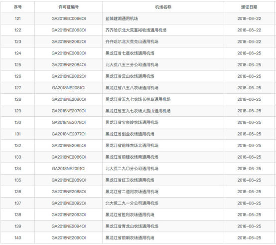
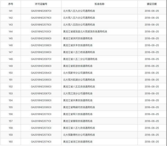
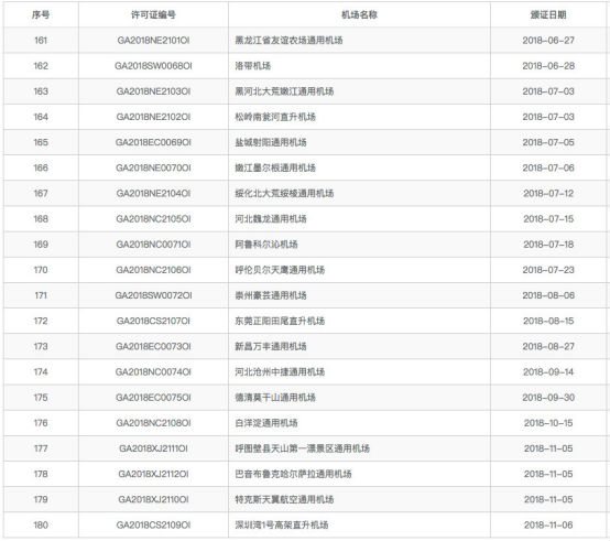
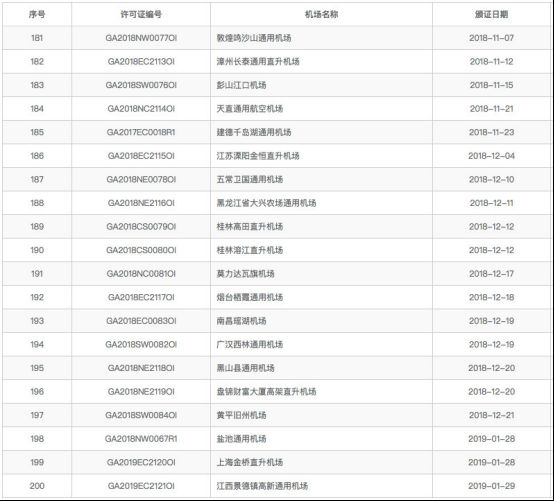
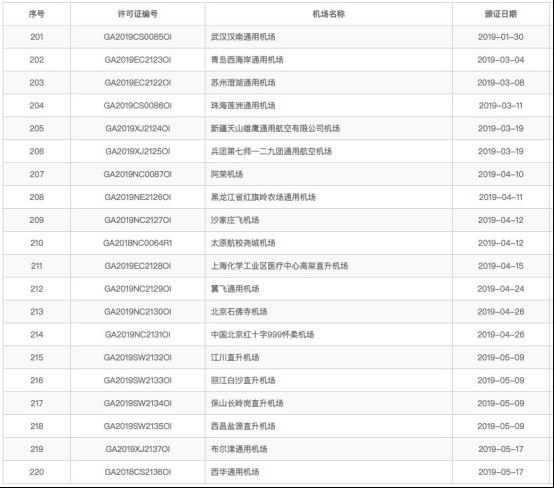
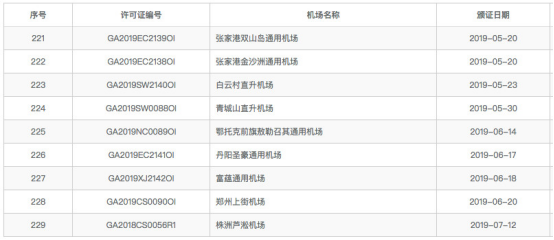
以下是截至2019年7月12日,全国229个持证通用机场名单(点击看大图):











四川已取证通用机场
11个
据不完全统计,截至目前,四川省已持证通用机场有 11 个,分别是广汉机场、洛带机场、新津机场、遂宁机场、崇州豪芸通用机场、彭山江口通用机场、广汉西林通用机场、自贡凤鸣通用机场、西昌盐源直升机场(2019.05.09)、青城山直升机场(2019.05.30)、白云村直升机场(2019.05.23),2019年截止目前,四川新增3个持证通用机场。(若有遗漏,欢迎补充)
据了解,今年9月29日-10月3日,四川将举办第二届四川国际航展。航展将在中国民航飞行学院广汉分院的广汉机场举办,展会由德阳市政府、四川航空集团主办,中国民航飞行学院、广汉市政府、德阳高新区管委会承办。